Подготовка к созданию самоделки
Чтобы сделать самодельную сельхозмашину — умельцы используют подручные материалы и отслужившие свой срок узлы мини техники. Так, основой мотоблока нередко служит бензопила, мотороллер или мопед, а когда нужно получить мощный и более функциональный агрегат — устаревшая модель мотоцикла («Восход», «Ява», «Минск»).
Прежде чем приступить к сборке мотоблока либо мотокультиватора просматривают тематическое видео в сети интернет, подыскивают нужную информацию в журналах, прочих изданиях. Затем подготавливают инструмент и материал, разрабатывают эскизы и чертеж, где наглядно изображают все функционирующие органы самоделки, включая силовую и ходовую части, системы управления и агрегатирования. Ниже на чертеже показано, как выглядит одноколёсный мотокультиватор.

Рис.1. Устройство самодельного мотокультиватора
1– силовой агрегат культиватора; 2– металлический защитный кожух; 3– топливный бак; 4– бобина зажигания; 5– коммутатор; 6– шпилька, фиксирующая наклон навески; 7– болт М-16; 8– ось для монтажа навески; 9– плуг навесной; 10– кронштейн; 11– станина; 12– рукояти; колесо с грунтозахватами.
Нелишним будет сделать кинематическую схему самоделки, отразив в ней порядок взаимодействия рабочих механизмов и показав, как организована трансмиссия.
Чтобы сделать лёгкий мотокультиватор или более тяжёлый мотоблок — применяют следующий инструмент:
- электродрель с набором свёрл;
- болгарку и диски по металлу;
- ключи (рожковые, накидные);
- сварочный аппарат;
- тиски.
Материалом для самоделки служат высокопрочные швеллеры, стальные пластины и трубы.
Самодельную раму для мотоблока или мотокультиватора делают сварной, но в то же время очень прочной, так как к ней впоследствии будут прилаживаться все комплектующие самоделки. Для сооружения рамы применяют железные трубы или швеллеры.
Иногда чтобы собрать самодельный мотоблок или мотокультиватор — необходимо усовершенствование мотоциклетной рамы или ее доработка.

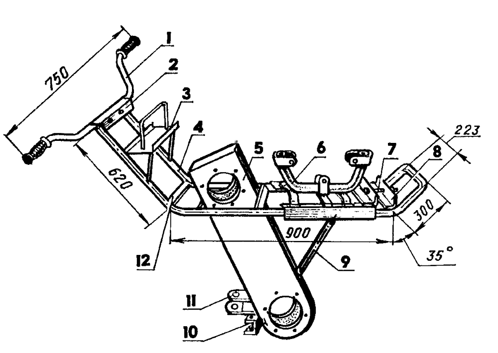
Рис.2. Переделанная рама от мотоцикла
1– руль; 2– держатель панели приборной; 3– площадка для установки аккумулятора; 4– швеллер (лонжерон); 5– картер; 6– станина; 7– натяжитель цепи; 8– упор натяжителя цепи; 9– подкос; 10– держатель крепления подрамника; 11– кронштейн, соединяющий культиватор с адаптером или прицепом; 12- поперечина.
От прежней конструкции отсекают переднюю вилку и иные элементы, чтобы те не препятствовали монтажу навесного оборудования на будущий культиватор. Сзади крепят сваркой самодельный механизм для сцепки мотокультиватора с оборудованием, прицепной тележкой. Как правильно самому сделать сцепку, следует посмотреть на видео.
Описание работ по сборке
Чертеж простого плуга для минитрактора и мотоблока.
Основным несущим элементом рассматриваемого оборудования является рама, на которую крепятся остальные составляющие. Она изготавливается из металлического профиля круглого или прямоугольного сечения толщиной 2-3 мм. На рамную часть крепятся рабочие корпуса и вспомогательные элементы плуга. Форма рамы соответствует количеству рабочих инструментов плуга и выбранным управляющим элементам.
Геометрические особенности плуга
Схема лемеха плуга.
На представленном чертеже показано устройство лемешно-отвального корпуса плуга. Лемех (I) является самой нижней частью, производящей врезание в почву. Пласт земли двигается к отвалу (IV), который переворачивает, крошит и сдвигает грунт в борозду. Полевая доска (II) служит направляющей для движения плуга и не позволяет смещаться в сторону необработанной пашни. Стойка (III) крепит рабочий инструмент на несущей раме и жестко удерживает нож в рабочем состоянии. Лемех состоит из носка, лезвия и пятки (1, 2, 3), которые обеспечивают успешное проникновение в грунт. Верхний, бороздной и полевой обрезы (6, 4, совместно с крылом (5) и грудью отвала (7) благодаря своим геометрическим параметрам обеспечивают правильное перемещение и рыхление пласта. Конструкция плуга с двумя корпусами выполняют оптимальную вспашку небольших земельных участков на минитракторах. В интернете можно найти множество видео, описывающих работу таких устройств.
Крепление стойки плуга
Стойка исполняется с регулировочными отверстиями для настройки необходимой глубины вспашки. Она выполняется из металлической пластины толщиной 8-12 мм для придания достаточной жесткости при сопротивлении высоким нагрузкам при работе. Стойка крепится на раме болтами, угол наклона корпуса должен обеспечивать нормальное вхождение режущей кромки лемеха в почву.
Изготовление дышла и крепление колеса
Соединение основных узлов плуга.
Рама крепится к минитрактору с помощью стандартного сцепного пальцевого устройства или самодельного дышла. Первые можно взять со старого изношенного оборудования и приварить к передней части несущей конструкции, вторые изготавливаются своими руками в виде дышла с ручкой (примеры можно посмотреть на разнообразных видео в интернете). Различают прямое и V-образное дышло, причем второе более предпочтительное. Оно гасит боковые колебания плуга и обеспечивает прямолинейное движение.
Одной их дополнительных и управляющих деталей самодельного земельного орудия является полевое колесо. Оно служит для обеспечения легкости хода и предотвращения погружения рабочего инструмента в почву. Данные задачи может выполнять одно колесо, но на продвинутых конструкциях разделяют эти функции на два элемента. Полевое колесо крепится к раме на регулируемый кронштейн для обеспечения требуемых настроек плуга.
Крепление и изготовление рабочего органа плуга
Для изготовления основного рабочего инструмента плуга своими руками нужно сделать лемех и отвал. Корпус плуга необходимо производить из легированной стали с улучшенными прочностными характеристиками. В советские времена методические центры сельскохозяйственного машиностроения советовали усиливать корпуса плугов накладками из рессорной стали при обработке иссушенных и целинных земель. Хорошей заготовкой для производства режущей части является использованный диск для циркулярной пилы, материал которого обладает повышенными показателями прочности и жесткости. Лемех имеет форму клина с рабочим углом 40-42º. Лемех рекомендуется крепить к отвалу на болтах или заклепках для возможности снятия и регулярной заточки.
Монтаж отвала
Отвал изготавливается из металлического листа толщиной 3-4 мм с последующим изгибанием газовой сваркой или на вальцевом станке. Более просто сделать самодельный отвал из трубы диаметром 500-600 мм. Сначала делается чертеж-шаблон, затем он накладывается на заготовку, отрезается газовым резаком и обрабатывается на наждаке. Отвал жестко монтируется к стойке плуга при помощи сварки.
Регулировка оборудования для минитрактора производится на ровной площадке с твердым покрытием. Полевое колесо устанавливается на подставку, выверенную под глубину вспахивания. Лемех опускается до упора с опорной плоскостью, причем пятка должна быть параллельна поверхности земли. Стойка закрепляется в выбранном положении и оснастка готова к использованию. Чтобы проверить правильность настройки плуга, нужно сделать контрольную вспашку.
Плуг для мотоблока Нева
Разновидности плуга для мотоблока Нева. Для сбережения фрез и сохранения их в рабочем состоянии на долгое время потребуется приобрести плуг.
Далее рассмотрим более подробно, какие плуги можно установить на мотоблок Нева.
У плуга есть геометрической формы стальной лемех и так называемая пятка для рыхления целины. После его использования необходимо будет дополнительно пройтись по грунту культиватором.
Сегодня на рынке плугов представлены 3 основные группы данного навесного оборудования для мотоблока Нева:
- Однокорпусный. Оснащен одним лемехом и предназначен для легкой почвы. В процессе работы с таким оборудованием происходит отброс почвы на одну из сторон, поэтому для перехода на соседний ряд потребуется идти к началу борозды.
- Оборотный плуг для мотоблока. Лемех изготовлен в форме пера, поэтому такая модель подойдет для почв более тяжелых. Одной из популярных моделей является поворотный плуг Зыкова, имеющий лево- и правосторонний корпус, оснащенный лемехом и отвалом, позволяющим переворачивать и измельчать грунт.
- Роторный, имеющий несколько размещенных на одной оси рабочих лемехов, имеющих изогнутую форму. В процессе пахоты он вращает и перебрасывает грунт.
Для того чтобы определить, какой плуг лучше, следует оценить качество грунта на участке.
Установка оборудования и .
Чтобы правильно прицепить плуг на мотоблок Нева потребуется обратиться к инструкции по использованию мотоблока.
Рассмотрим, как выполняется настройка плуга. Его необходимо соединить со сцепкой и затем прикрепить на мотоблок. Чтобы начать использовать культиватор с прикрепленным к нему плугом, необходимо поменять колеса на грунтозацепы. Сцепка имеет специальную подножку, поэтому использовать дополнительные инструменты не потребуется. Устанавливать грунтозацепы стоит так, чтобы в итоге узкие его участки были расположены по ходу движения культиватора.
Плуг после его прикрепления к мотоблоку ни в коем случае не должен двигаться и наклоняться. При этом может потребоваться изменить глубину пропашки, для регулировки которой на стойке расположено несколько отверстий.
Перед началом использования плуга его надо отрегулировать. Для этого необходимо совместить продольные оси культиватора с плугом, а также расположить его строго вертикально. Настроить такое положение навесного оборудования можно после того как будет установлена сцепка. Отрегулируйте положение плуга. Для этого надо расположить его пятку параллельно грунту и зафиксировать такое положение с использованием болта
Важно помнить, что при осуществлении такого действия мотоблочный руль следует расположить в центре от регулирующего винта
Можно соорудить альтернативу плужку на мотоблок Нева своими руками. Отзывы тех фермеров, которые делали его самостоятельно, самые положительные. Для этого потребуются лемех из стали, толщина которой 3-5 мм, и отвал, в качестве которого можно использовать трубу диаметром около 50 см и толщиной стенок не менее 3 мм. Последующая сборка плуга проводится так же, как описано выше.
Правила ухода и использования
После того, как вы изготовили агрегат, следует позаботиться о его долговечности. Поэтому плуг обрабатывают специальными антикоррозионными средствами, а также нередко красят, чтобы защитить от ржавчины и придать изделию оригинальность.
Хранить свой плуг следует в месте, которое защищено от негативного влияния влаги.
Регулярно очищайте аппарат после использования, чтобы он служит максимально долго, а вам не приходилось часто затачивать режущую кромку.
Перед использованием проверьте, надёжно ли вы закрепили устройство к мотоблоку, чтобы избежать травм и прочих неприятностей.
Конечно, создание собственного плуга отнимет у вас определённое количество времени, зато вы можете не сомневаться, что ваше устройство действительно качественное, и выполнено на совесть!
Вы можете изготовить плуг самостоятельно конкретно под свои нужды, и это обойдётся вам гораздо дешевле, чем при покупке нового оборудования, ну а чувство гордости за свой труд вообще невозможно купить! Поэтому вперёд за чертежами и в мастерскую.
Как сделать своими руками
Для создания устройства вам понадобится подготовленное рабочее место. Заранее принесите туда следующие инструменты и детали:
- вальцы;
- инструмент для разрезания металлических листов;
- трубка (желательно с квадратным сечением и достаточно толстым слоем металла);
- сварочный аппарат;
- лемех;
- винты, гайки;
- 5 мм лист легированной стали (данный вид материала гораздо лучше выдерживает нагрузку, поэтому рекомендуется использовать именно его);
- 3-мм металлический лист.
Стоит сказать, что приступать к самостоятельному изготовлению плуга стоит тем людям, которые имеют определённые навыки работы с металлом, так как это достаточно непростое дело, требующее опыта.
Вам потребуется самостоятельно по собственным или найденным в интернете чертежам вырезать лемех, отвалы, клинья и другие детали. Стоит предупредить, что, в первую очередь, необходимо придерживаться техники безопасности, чтобы работа была не только продуктивной, но и безвредной!
Роторный
Для начала рассмотрим, как изготовить роторную модель плуга, которая является самым простым вариантом устройства для работы с землёй. Такой агрегат превосходно подойдёт для небольших участков, так как его продуктивность не слишком высока. Так же можно использовать и плуг для мотоблока Крот. Зато с его сборкой справятся даже новички.
Для этого необходимо:
- для начала изготовьте отвал цилиндрической формы (при выборе данного варианта режущей кромки плуга). Делайте это строго по чертежам из легированного металла. Именно поэтому чертёж так важен, ведь он позволяет уверенно выполнять кропотливую и тяжёлую работу с металлом;
- далее нам потребуется установить лемех. Для этого следует ввести клинья в металлический лист 3-мм под углом в 45 градусов;
- потом вам потребуется состыковать лемех с боковым щитком. Следите, чтобы лезвие лемеха было ниже щитка примерно на 1 см;
- после этого необходимо присоеденить к лемеху отвал;
- далее к металлической трубе, которая служит основой для плуга, следует приварить с одной стороны рабочую часть с лемехом, а с другой крепление к мотоблоку.
- после того, как у вас получился плуг, с нижней части можно приварить ось с колёсами, либо присоединить движущиеся части каким-либо другим способом.
https://youtube.com/watch?v=4OLkSpsd9oc
Оборотный
Рассмотрим наиболее функциональную модель плуга, которую вы сможете сделать своими руками. Поворотный плуг станет отличным помощником при вспахивании земли, благодаря достаточно большой площади обработки.
Кроме того, вам не понадобится терять время после каждого прохода, достаточно просто развернуть устройство и идти в обратную сторону, а плуг будет работать по назначению. Ведь борозды также развернуться по направлению движения. То есть, продуктивность повысится в 2 раза.
Итак, базовые действия вы выполняете аналогично с роторным устройством, однако, на этот раз режущие края должны быть ниже полоза на 2 см.
Будьте внимательны и проследите, чтобы края лемеха и отвала совпадали, эти детали должны быть присоединены друг к другу максимально плотно, чтобы не было просветов.
После этого элементы привариваются друг к другу, что даёт плугу отменную прочность и надёжность.
Как монтировать готовый плуг на мотоблок
настройку и монтаж плуга
После этого присоединяют плуг, выполненный вашими руками к мотоблоку с помощью навесного устройства. Крепежные гайки следует не полностью затягивать, чтобы можно было регулировать агрегат. Следующим этапом выполняется фиксация плуга к серьге вашего мотоблока двумя штырями. После окончания этих манипуляций можно начинать регулировку самого плуга.
Регулировка устройства на мотоблоке
Регулировка сделанного вашими руками плуга на мотоблоке проводиться с максимальным соблюдением всех условий, ведь от регулировки зависит и качество вспашки.
Регулировка осуществляется в следующем порядке:
- для начала необходимо мотоблок установить на спец. подставку и произвести балансировку. Высота подставки прямо определяет вашу глубину вспахивания. Высота подставки для мерзлой почвы должна быть не более 25 сантиметров, а для весеннего прогретого грунта не более 20 сантиметров;
- после балансировки, болтами регулировки, устанавливаем угол наклона вашего плуга так, чтобы его «пятка» параллельно располагалась поверхности почвы;
- после монтажа плуга, мотоблок снимают с подставки и ставят на землю. Регулируем руль мотоблока так, чтобы управляющие рычаги находились примерно у пояса водителя;
- на последнем этапе регулировки производим оценку правильности настройки плуга. Для этого произведем контрольную вспашку тремя бороздами с измерением качества отвала срезанного грунта и глубины среза, а также расстояния между пахотными бороздами. В случае если между бороздами расстояние превышает 100 миллиметров, или они начинают перекрывать друг друга, требуется выполнить повторную регулировку.
Как изготовить плуг к мотоблоку своими руками из конного?
Конский плуг, по сравнению с другими типами навесных устройств, может быть полностью деревянным. Единственным элементом из металла может выступать лемех.
Пошаговая инструкция по самостоятельному изготовлению конского плуга для вспашки земли приведена ниже:
- Рукоятки изготавливаются из двух деревянных брусьев, толщина которых около 10 сантиметров. Верхняя часть рукояток дополняется прорезиненными накладками;
- Рукоятки соединяются под прямым углом, так будет удобнее за них держаться двумя руками;
- Нижние части элементов соединяются саморезами;
- Брус толщиной 20 сантиметров нужно изогнуть, чтобы его концы расположились параллельно;
- Нижний конец бруса прикрепляется к лемеху;
- На верхнем конце устанавливается крепление плуга к мотоблоку. Для изготовления можно использовать деревянные бруски небольшого размера;
- Посередине крепления устанавливается двойная рукоятка.
Способ изготовления плуга для мотоблока можно подобрать под себя. Каждый самодельный навес может быть использован с агрегатами популярных марок Нева, МБ-1 и МБ-2, МТЗ, Крот, Салют.
Сборка однокорпусного плуга
Самым простым, но в то же время и эффективным самодельным аппаратом можно считать однокорпусный плуг. Многим, кто задумывался над вопросом, как сделать плуг для мотоблока своими руками, будет интересна именно эта модель, поскольку её самостоятельная сборка осуществляется легко. Для его производства не нужно иметь специальных инструментов. Достаточно будет стандартного набора приспособлений начинающего мастера.
Изготовление лемеха
Как показывает практика использования лемехов, такую деталь периодически перед эксплуатацией необходимо снимать и подтачивать для лучшей работы. Для того чтобы лемех был эффективным в работе, при его изготовлении следует использовать сталь 9ХС, которую применяют для производства циркулярных пил. Альтернативным вариантом будет сталь 45, но её нужно будет дополнительно закалять. Не запрещается также использование обычной стали, которая не поддаётся закалке, например, Ст. 5. Но для нормальной работы её необходимо тщательно выстукать молотком и заточить.
Производство отвала
Выбор материалов и производство отвала является одним из самых важных этапов при изготовлении конструкции на ровне с лемехом. Отвал можно сделать из разнообразных материалов и методов. Для того чтобы будущий владелец аппарата мог подобрать подходящий именно под его почву, нужно рассмотреть все популярные варианты.
Отвал можно изготовить следующим образом:
- Используется 3−4-миллиметровый лист стали. Для получения нужной изогнутой формы отвала предварительно покупаются гибочные вальцы. Для начала из листа стали вырезают необходимую форму, а потом пропускают через вальцы и придают ему нужную форму. Если после вальцовки форма не соответствует в точности схеме модели, то подровнять её следует молотком.
- Отвал можно сделать из трубы диаметром 50−60 сантиметров и толщиной стенки в 4−5 миллиметров. Перед работой нужно создать шаблон отвала из бумаги. Угол наклона приблизительно должен составлять 22−32 градуса. Контур надреза обрисовывается карандашом и вырезается газовой горелкой. После этого зачищается крупнозернистой наждачной бумагой или болгаркой. При необходимости форма с лёгкостью исправляется с помощью молотка.
- Для изготовления самодельного отвала можно использовать шаблон покупного плуга. Например, вырезать форму из стального листа, приложить к отвалу. Нагревая лист, придаётся одновременно нужная форма по матрице.
Финальный этап сборки
Для тех, кто интересовался как сделать отвал для мотоблока своими руками опытные мастера рекомендуют перед началом установки использовать макет из твёрдого картона. Склеивать детали нужно под определёнными углами. Если с картонным образцом всё в порядке, то можно по нему начинать сборку металлической конструкции. Идеальная толщина металла для такого плуга 3 миллиметра.
Для скрепления всех деталей между собой нужно иметь минимальный опыт работы со сваркой, и непосредственно сам аппарат. Сперва необходимо взять стальной лист полметра в ширину и в длину. Устанавливаем клинья на лист стали под углом 25 градусов. Потом монтируем лемех, приваривая его к листу в двух местах. К лемеху прикрепляем вертикально бортовой щиток. Он должен находиться выше лезвия на 1 сантиметр для того, чтобы почва могла спокойно подрезаться. Щиток к лемеху монтируется прихватками. После присоединения отвала должна получиться цельная конструкция. Угол между лемехом и отвалом должен быть в пределах 6−8 градусов.
Дальше нужно разобраться с особенностями крепления лемеха. Если после крепления всех деталей какие-то углы не будут соответствовать рекомендованным, их необходимо подогнать под нужные молотком. После подгонки отвала и лемеха, они привариваются, а после этого отвал прикрепляется с помощью прихваток с боковым щитком.
Боковой щиток для начала необходимо сварить с опорной планкой, а потом пластиной, которая находится в основании. После этого к ней нужно приварить лемех упорным уголком. Всю конструкцию тщательно осматриваем и измеряем всё ли правильно прикреплено относительно шаблона, а тогда намертво привариваем все соединения и швы. Только после этого можно отсоединять от вспомогательного листа. Дальше необходимо с помощью болгарки зачистить все соединения. Те части, которые непосредственно будут контактировать с почвой, необходимо зачистить, загрунтовать и покрасить двойным слоем. Остальные части можно красить одним слоем.
Сборка
Если все сделано правильно на предыдущих этапах, сборка не должна вызвать существенных затруднений. Для этого понадобится лист стали площадью не менее 25 см². К нему привариваются все детали, включая боковой щиток.

Такая работа требует особой аккуратности, поскольку части будущего сельхозинвентаря должны быть хорошо пригнаны, а углы — совпадать. Боковой щиток, обеспечивающий стабильность и надежность сборки, соединяется с другими элементами точечной сваркой. Если замечено несоответствие в геометрической конфигурации, то форма отвала легко поправляется с помощью молотка.
Смотрите » Самые популярные мотоблоки Викинг и возможное навесное оборудование
Крепление лемеха
Этот конструктивный элемент задней поверхностью прикрепляется к отвалу и боковой плоскости станины. Последняя с помощью сварочного аппарата присоединяется к распорному элементу и пластинчатому основанию, к которому пристыковываются упорные стальные уголки для лемеха.
Все части конструкции должны выступать за боковой щит на несколько миллиметров. Стальной лист, использованный для точности сборки конструкции, отделяют от нее зубилом либо ручной циркулярной пилой с установленным отрезным диском. Сварные швы следует обработать наждаком, а лемех и отвал — мелкой шлифовальной шкуркой.
Самодельное навесное оборудование для мотоблоков

Список навесных агрегатов для мотоблоков весьма разнообразен. В него входят:
- плуги;
- бороны;
- грабли;
- картофелекопатели, окучиватели и картофелесажалки;
- косилки;
- плоскорезы-пропольники;
- почвофрезы;
- сеялки; подметальные щётки и снегоуборщики;
- дровоколы;
- отвалы;
- водяные помпы;
- насосы-опрыскиватели и т.д..
Очевидно, что столь богатый арсенал навесного оборудования не в ходит ни в одну комплектацию. Остаётся только представить, во сколько помимо самого мотоблока обойдётся покупка всех необходимых для ведения хозяйства агрегатов. Не стоит забывать и о том, что на рынке по-настоящему универсальные мотоблоки можно пересчитать по пальцам. То есть оборудование, которое подлходит к какой-либо конкретной модели довольно редко можно подключить к другой. К счастью, производители всё же предусматривают возможность модификации выпускаемой мотоблочной техники, в основном за счёт дополнительного навесного оборудования. К таковому можно отнести:
- дополнительные полуоси (ступицы);
- ходоуменьшители;
- грузы (утяжелители);
- грунтозацепы;
- сиденья-адаптеры;
- транспортировочные тележки и прицепы;
- сошники (упорные рычаги);
- сцепки и пр.
Любой из этих узлов можно сделать самостоятельно или взять от других моделей и адаптировать под вашу. Но прежде всего следует удостовериться в их совместимости. Мощность двигателя, габариты и вес, способ подключения, рабочие нагрузки и т.д. – всё это следует учесть ещё на стадии разработки, иначе вы рискуете потратить силы и средства впустую.
Как сделать плуг для мотоблока своими руками

Для тех, кто владеет небольшим участком земли (20-40 соток) и активно занимается земледелием, например, выращивает картофель или другие культуры, серьезным помощником в работе является мотоблок. Оснащенный набором навесного оборудования, его можно использовать для вспашки и рыхления почвы, посадки и уборки картофеля, моркови и др. С помощью мотоблока можно скосить траву, убрать снег, перевезти небольшой груз. Навесное оборудование можно приобрести в магазине, но домашнему умельцу, имеющему в арсенале доступные инструменты, по силам будет изготовить некоторое оборудование самостоятельно, включая плуг. Если вы решились изготовить плуг для мотоблока своими руками, рассмотрим их конструкции, а также какие из них можно сделать самостоятельно.




































